使用场景
财务使用该功能可进行月度决算变动信息的维护,系统最终输出每月损益决算看板。
功能说明
决算变动:财务根据最终实际情况按月度维护决算变动相关的数据信息。
决算固定费用总览:根据财务维护的到品牌维度的固定费用决算变动信息,最终输出到店铺维度的固定费用总览,方便查看分摊后的费用信息。
损益决算看板:系统根据预算情况结合财务维护的决算信息最终输出决算看板。
操作说明
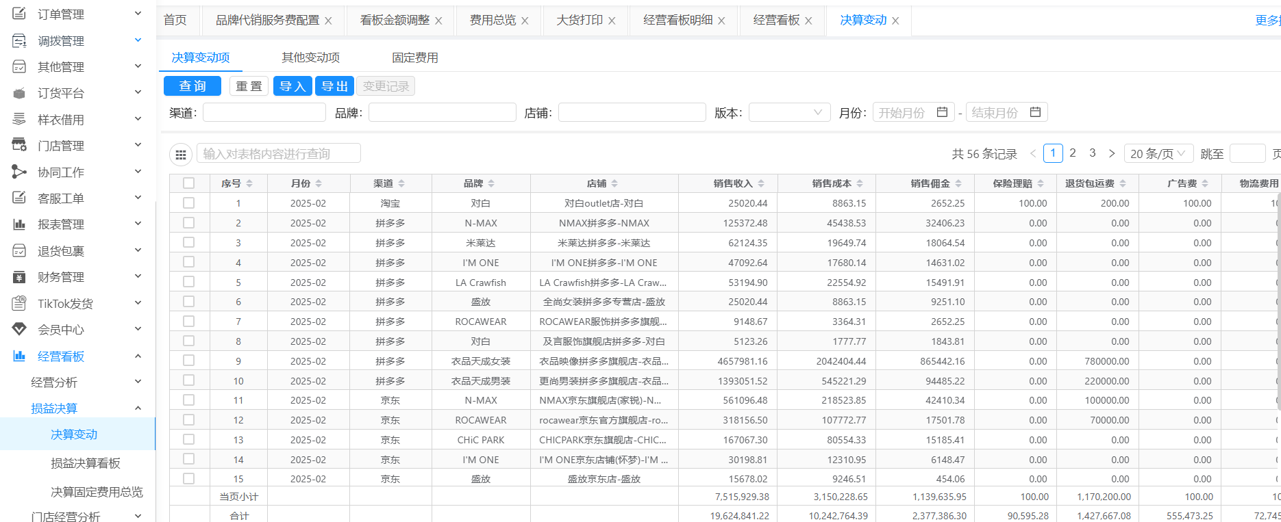
决算变动
进入FMS->损益决算->决算变动功能菜单中可维护决算变动项信息,财务2月做1月数据决算,时间限制上能导入和编辑上月及之后的数据。
决算变动项
进入决算变动项页面,可进行决算变动项信息维护。
进入其他变动项页面,可进行决算劳务费、报废损失信息维护。
进入固定费用页面,可进行品牌维度决算固定费用维护并指定承担渠道/店铺。
损益决算看板
进入FMS->损益决算->损益决算看板,可查看最终损益决算看板内容。
决算固定费用总览:
进入FMS->损益决算->决算固定费用总览可查看到店铺维度的决算固定费用总览信息。
文档更新时间: 2026-04-24 10:34 作者:徐远英