修订历史
| 日期 | 版本 | 作者 | 修改内容 |
|---|---|---|---|
| 2021-07-27 | v1.0 | 李怡文 | 修改 |
生成门店销售单有两种方式:导入、手工录入。
销售订单有两种类型:门店发货、总仓发货。
(1)门店发货
适用于仓库发货到门店后,门店线下卖出,产生的线下销售订单。
①操作说明
1、批量导入
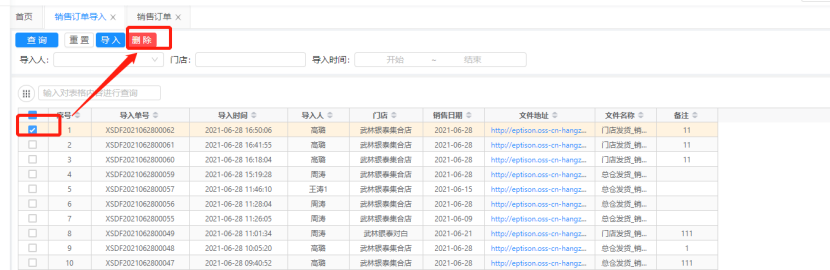
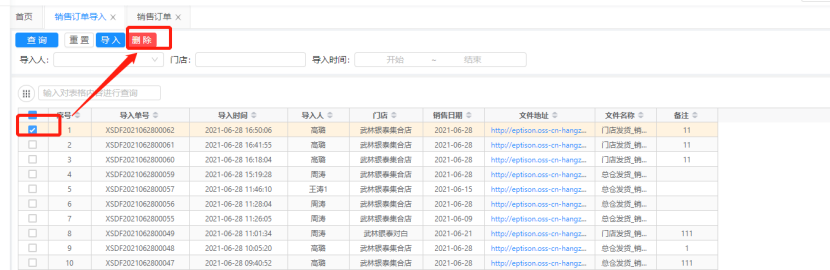
页面入口:门店管理-门店销售-销售订单导入
页面操作:
A.点击【导入】按钮,在弹窗中,选择“门店发货”销售类型。
B.输入必填项:门店、销售日期、客户名称、上传图片(门店每日销售清单照片)
C.下载模板,根据模板,编辑好文件,点击【上传文件】按钮。
D.点击【生成销售单】按钮。
导入文件说明:

销售单号、销售数量、销售金额必填。
品名规格:格式为【货号/货品名称/规格名称】,与商家编码必填其一,优先取商家编码进行匹配。
商家编码:无品名规格或品名规格提示重复时,“商家编码”必填。
原销售单号:当销售数量为负时,即退货单,退货单对应的原销售单号必填。
页面说明:
点击【生成销售单】按钮后,会生成一笔导入单、根据销售单号生成多笔状态=【待提交】的销售订单、销退订单。
如需导入文件错误,需要整个删除。则在“销售订单导入”页面,操作勾选,【删除】,删除后,通过该导入文件生成的门店销售单,均会被删除。
2、手工录入
页面入口:门店管理-门店销售-销售订单
页面操作:
A.点击【手工录入-门店发货】按钮。
B.输入必填项
C.点击【新增】按钮,输入商家编码、数量、销售金额。
②状态流程图

状态说明
1、新增/编辑时,点击【保存】按钮,状态=待提交
2、状态=待提交,点击【提交】按钮,状态=待审核
3、状态=待审核
点击【审核】按钮,状态=已审核,对应生成OMS销售订单/退货单,进行状态流转,将门店库存出、入掉,
点击【撤回】按钮,状态=待提交,可编辑后重新提交。
4、状态=已审核,不允许反审核。
OMS库存出/入完成后,销售订单状态=已完成。
注意:
销退订单审核前,原销售订单状态必为【已完成】
(2)总仓发货
适用于买家付款后,货品从总仓直发给买家。
①操作说明
1、批量导入
页面入口:门店管理-门店销售-销售订单导入
页面操作:
A.点击【导入】按钮,选择“总仓发货”销售类型
B.输入必填项“门店、销售日期、物流公司、客户名称”
C.下载模板,根据模板,编辑好文件,点击【上传文件】按钮。
D.点击【生成销售单】按钮。
导入文件说明:
销售单号、商家编码、销售数量(>0)、销售金额、收货人、手机号、省市区地址必填。
页面说明:
点击【生成销售单】按钮后,会生成一笔导入单、根据销售单号生成多笔状态=【待提交】的销售订单。
如需导入文件错误,需要整个删除。则在“销售订单导入”页面,操作勾选,【删除】,删除后,通过该导入文件生成的门店销售单,均会被删除。

2、手工录入
操作同门店销售
②逻辑说明
类型为【总仓发货】的销售订单,提交、审核后,会生成数据来源=以销定采的补货订单。
如对应的补货订单需修改信息/取消发货,则需要在上游单据:门店销售页面,反审核对应的销售单,再进行修改。修改后重新提交、审核或取消。
总仓发货的退回:
导入/手工录入销售类型=【门店发货】的销退订单,补虚拟仓库存。